电控空气悬架压力传感器的结构原理是怎样的?作用是什么?
压力传感器采用的是电容测量原理。进行信号输出。其结构原理如下。
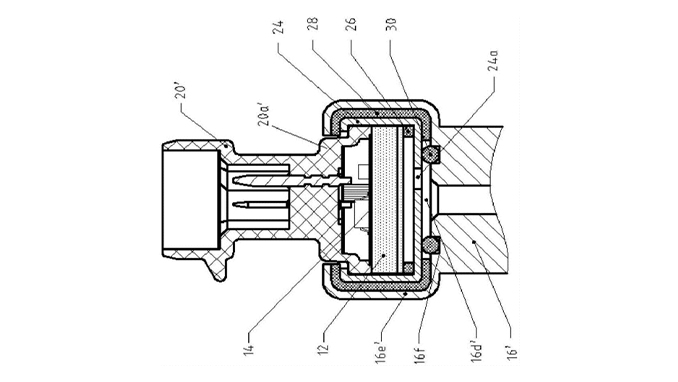
1.奥迪压力传感器G291。该传感器是浇注在电磁阀体内的。
2.压力传感器测量的是前、后桥减振支柱的压力或蓄压器内的压力。
3.压力传感器采用的是电容测量原理。将要测量的压力会使得陶瓷膜片发生偏移,于是安装在这个膜片上的电极和固定在传感器壳体上的对应电极2之间的距离就发生了变化。
这两个电极构成了一个电容器,两电极之间的距离越小,这个电容器的电容就越大。传感器内部集成的电子装置会测量出这个电容值,并将它转换成一个线性输出信号。

急求汽车空调所用压力传感器类型及结构
.............................budong
进气压力传感器的结构?
你好,进气压力传感器的话,他就是有两个是一个真空室,一个是连接我们进气歧管压力室,然后两个中间是通过一个膜片分割开来,馍片上方有四个压敏电阻,当我们进气歧管压力受到变化的时候,我们的压敏电阻的阻值发生变化,然后电桥不平衡输出一个电压信号,供给我们的电脑。希望对你有所帮助进气传感器 电喷发动机中采用进气传感器 来检测进气量的称为d型喷射系统(速度密度型)。进气传感器 检测进气量不是像进气流量传感器那样直接检测,而是采用间接检测,同时它还受诸多因素的影响,因而在检测和维修中就有许多不同于量传感器进气流的地方,所产生的故障也有它的特殊性。 一、进气传感器 的工作原理 进气传感器 检测的是节、气门后方的进气歧管的绝对压力,它根据发动机转速和负荷的大小检测出歧管内绝对压力的变化,然后转换成信号电压送至电子控制器(ecu),ecu依据此信号电压的大小,控制基本喷油量的大小。 进气传感器 种类较多,有压敏电阻式、电容式等。由于压敏电阻式具有响应时间快、检测精度高、尺寸小且安装灵活等优点,因而被广泛用于d型喷射系统中。 压敏电阻式进气传感器 的工作原理。 应变电阻r1、r2、r3、r4,它们构成惠斯顿电桥并与硅膜片粘接在一起。硅膜片在歧管内的绝对压力作用下可以变形,从而引起应变电阻r阻值的变化,歧管内的绝对压力越高,硅膜片的变形越大,从而电阻r的阻值变化也越大。即把硅膜片机械式的变化转变成了电信号,再由集成电路放大后输出至ecu。 二、进气传感器 的输出特性 发动机工作时,随着节气门开度的变化,进气歧管内的真空度、绝对压力以及输出信号特性曲线均在变化。但是它们之间变化的关系是怎样的?输出特性曲线是正的还是负的?这个问题常常不易被人理解,以致有些检修人员在工作中有一种“吃不准”的感觉。 d型喷射系统中检测的是节气门后方的进气歧管内的绝对、压力。节气门的后方既反映了真空度又反映了绝对压力,因而有人认为真空度与绝对压力是一个概念,其实这种理解是片面的。在大气压力不变的条件下(标准大气压力为101.3kpa),歧管内的真空度越高,反映歧管内的绝对压力越低,真空度等于大气压力减去歧管内绝对压力的差一值。而歧管内的绝对压力越高,说明歧管内的真空度越低,歧管内绝对压力等于歧管外的大气压力减去真空度的差值。即大气压力等于真空度和绝对压力之和。理解了大气压力、真空度、绝对压力的关系后,进气传感器 的输出特性就明确了。 发动机工作中,节气门开度越小,进气歧管的真空度越大,歧管内的绝对压力就越小,输出信号电压也越小。节气门开度越大,进气歧管的真空度越小,歧管内的绝对压力就越大,输出信号电压也越大。输出信号电压与歧管内真空度的大小成反比(负特性),与歧管内绝对压力的大小成正比(正特性)。

进气压力传感器的构造主要包括那些部件
你好它的功能主要是检测进气歧管的真空压力。一般情况下4根线,其中3根线是压力传感器的,另一个是进气温度传感器线。也有的将压力传感器和进气温度传感器分开了。所以只有3根线。这4根线分别是:一个供电线5v,一根打铁线,一个进气压力信号线,一根进气温度信号线。【汽车有问题,问汽车大师。4S店专业技师,10分钟解决。】你好进气压力传感器是利用惠斯通电桥电路检测电阻,电阻随进气歧管压力变化,最后通过放大器将检测的信号送入ECU,由ECU分析计算得出压力值【汽车有问题,问汽车大师。4S店专业技师,10分钟解决。】这个可以用测量空气中酒精分子的含量也就是ppm来做,但有个问题,如果司机没喝酒,而乘客喝酒了,这个就比较难区分了。曾经有人做过,如果车里有一定的酒精含量,汽车是无法启动的。但后来由于这个问题没有实际应用!

