压力传感器的工作原理(压力变送器的工作原理)
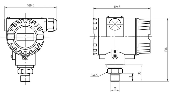
压力传感器的工作原理是什么?主要是通过监测气动,液压,制动压力以及气闸等关键系统的压力,流量,和液位等来维护重载设备的性能。这种传感器具有外壳,金属压力接口以及高平信号输出的设置装置,外观呈筒状,一端是压力接口,另外一端就是连...
了解详情
压力传感器的工作原理是什么?主要是通过监测气动,液压,制动压力以及气闸等关键系统的压力,流量,和液位等来维护重载设备的性能。这种传感器具有外壳,金属压力接口以及高平信号输出的设置装置,外观呈筒状,一端是压力接口,另外一端就是连...
了解详情
一般的电子计价称的价格是多少?谢谢!!按照秤量精度的不同,价格就有较大的区别.误差在2克范围内的,一般不超过300元.而误差在0.5克范围内的就要六、七百块了。当然精度再高的价格就更高。友之生电子计价台称标定方法?友之生电子计价台称标定方法公司销售各类品牌衡器、电子秤、电子称、电子地磅秤、电子台秤、...
了解详情
光电传感器的常见类型有哪些光电传感器常见有几种分类:把一个光发射器和一个接收器面对面地装在一个槽的两侧的是槽形光电。发光器能发出红外光或可见光,在无阻情况下光接收器能收到光。但当被检测物体从槽中通过时,光被遮挡,光电开关便动作。输出一个开关控制信号,切断或接通负载电流,从而完成一次控制动作。槽形开关...
了解详情
mts位移传感器的dp通讯地址怎么设置应用程序中设置参数。位移传感器又称为线性传感器,是一种属于金属感应的线性器件,传感器的作用是把各种被测物理量转换为电量。在生产过程中,位移的测量一般分为测量实物尺寸和机械位移两种。按被测变量变换的形式不同,位移传感器可分为模拟式和数字式两种。模拟式又可分为物性型...
了解详情
ROHS电阻应变式称重传感器输出是正弦信号吗1、电阻应变式称重传感器输出大多是直流电压小信号,也有将这个直流小信号变成标准信号(例如4-20mA)的称重变送器仍然叫做称重传感器。2、ROHS(RestrictionofHa...
了解详情
红外测温应用到了哪些领域?目前,红外测温仪和红外热像仪被广泛应用电厂、钢厂、大型机床、以及电力巡检、森林防火等多个领域红外测温的理论原理是什么???在自然界中,当物体的温度高于绝对零度时,由于它内部热运动的存在,就会不断的向四周辐射电磁波,其中就包含了波段位于0。75μm~100μm的红外线。他最大...
了解详情